遼寧產品展示
/ Products Classification 點擊展開+
工作電壓 | DC24V,允許范圍:DC20V~DC28V |
工作電流 | 通話時電流約為25mA |
線制 | 無極性二總線制 |
使用環境 | 溫度:-10℃~+50℃ 相對濕度:≤95%,不凝露 |
外形尺寸 | 206mm×56mm×51.5mm |
執行標準 | Q/GST28-2005 |
GST-TS-100A型消防電話分機外形結構圖
GST-TS-100B 型消防電話分機外形尺寸及結構示意圖
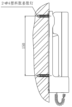
GST-TS-100A 型消防電話分機安裝示意圖如圖所示:
GST-TS-100A 型消防電話分機安裝示意圖
在安裝處打出間距為150mm的兩個φ6的孔,穿入φ6的脹套,用φ6的脹釘固定好后,將GST-TS-100A消防電話分機底座直接掛在脹釘上。將電話線插頭插入GST-LD-8304型消防電話接口的電話插孔內。
GST-TS-100B型消防電話分機的電話線插頭,直接接入GST-LD-8312型消防電話插孔的插孔內即可使用。